Шолом М38

Тема у розділі 'Реставрація знахідок', створена користувачем корней, 19 січ 2015.

  1. 663

    663 ✠ Moderator

    Рейтинг:
    2
    Відгуків:
    12
    Лоти
      на продажу:
    0
      продані:
    17
    Повідомлення:
    7.598
    Адреса:
    Україна.
    Друже навіщо вам це ?. Зістарте ті місця де ви втручалися та поставте на полку. Я впевнений навіть в такому стані ваш шолом буде завідний експонат.
    Та поріжте М-35 під паратрупер, єксперементуйте до не схочу.
    Це слова від щирого серця !.
     
    Frodi подобається це.
  2. Цікаві лоти

    1. Пропоную Вашій увазі цікавий лот. Каска не частого , доволі рідкісного розміру 42/62. .на розмір го...
      4777 грн.
    2. каска Болгария все дефекты недостатки показал на фото как то так С Уважением !!!
      3000 грн.
    3. Вашему вниманию прекрасный и все более редкий образец M-1916 Stahlhelm, шлема имперской немецкой арм...
      20000 грн.
    4. До Вашої уваги, німецький шолом часів ПСВ М-16 “Рогач”. Метал ще досить міцний . Ніяких реставраційн...
      8000 грн.
    5. Доброго предложу таку каску поварена ,гребінь рідний метал бомба ,клеймо на вухові
      2250 грн.
  3. корней

    корней Stabsfeldwebel

    Рейтинг:
    3
    Відгуків:
    43
    Лоти
      на продажу:
    1
      продані:
    66
    Повідомлення:
    743
    Адреса:
    Україна
    В такому станi вона 4 роки iржавiла на полцi.От якби були залишки рiдноi фаби,декалi то була б зовсiм iнша справа
     
  4. 663

    663 ✠ Moderator

    Рейтинг:
    2
    Відгуків:
    12
    Лоти
      на продажу:
    0
      продані:
    17
    Повідомлення:
    7.598
    Адреса:
    Україна.
    Іньша справа це ось вона, в вас в руках. Що багато форумчан похизуються таким шоломом ?. Другого такого завозу не буде !. Це не та модель що на Чеських складах валялася. Масового привозу і чекати не слід. Висновки робіть самі.
    Для прикладу. Якось на форумі проскакував шолом Берндольф, хотів його продати початківець. Підняли його на сміх, він його реставрував (не потрібно було того робити) та продався за гривень 600-800. Пройшов час про нього вже й забули і ось появився інший такий шолом навіть два під реставрацію. Але тепер відношеня інше, тому що вже всі знають точно що іншого завозу таки не буде. По правді ці два навіть в зрівняня не годяться першому. Але поїзд пішов. Проаналізуйте краще перед продовженням роботи.
     
    Hawk3 та Frodi подобається це.
  5. корней

    корней Stabsfeldwebel

    Рейтинг:
    3
    Відгуків:
    43
    Лоти
      на продажу:
    1
      продані:
    66
    Повідомлення:
    743
    Адреса:
    Україна
    Дякую за конструктивну критику,але все ж маю власну думку.Поiзд пiшов i треба доводити дiло до кiнця.Роблю для себе,не для продажу.Ви мене переконуете,наче це я обiдрав рiдну фарбу,позаклепував отвори i використовую як вiдро.
     
    663 подобається це.
  6. 663

    663 ✠ Moderator

    Рейтинг:
    2
    Відгуків:
    12
    Лоти
      на продажу:
    0
      продані:
    17
    Повідомлення:
    7.598
    Адреса:
    Україна.
    Не хочу нікого обідити але тих реставрованих шоломів купами на кожному кроці. Кого таким здивуєш ?. Та нікого. А ваш шолом запамятав би кожен бо він справжній, та міцний. Так чи інакше, вдалого вам реставруваня.
     
    Frodi, 1o4k@ та Рихард подобається це.
  7. weronass

    weronass Oberfeldwebel

    Рейтинг:
    2
    Відгуків:
    2
    Лоти
      на продажу:
    0
      продані:
    6
    Повідомлення:
    1.604
    Адреса:
    Украина, Донецк
    Был у меня похуже. примерно 2 года назад взял за 600 грн...
     

    Images:

    2631825087_1.jpg
    2631825087_2.jpg
    2631825087_3.jpg
    2631825087_4.jpg
    2631825087_5.jpg
    2631825087_6.jpg
    Моби_002 та evgen84 подобається це.
  8. weronass

    weronass Oberfeldwebel

    Рейтинг:
    2
    Відгуків:
    2
    Лоти
      на продажу:
    0
      продані:
    6
    Повідомлення:
    1.604
    Адреса:
    Украина, Донецк
    Отверстия правда были нормальные, из них пришлось только высверлить старые болты, но для остального пришлось купить дешевый донор в виде м-35....чудо тогда сотворил обычный рихтовщик на сто...это мне стоило 200 грн
     

    Images:

    DSC01357.JPG
    DSC01358.JPG
    DSC01359.JPG
    DSC01360.JPG
    DSC01361.JPG
    DSC01362.JPG
    DSC01363.JPG
    DSC01364.JPG
    DSC01366.JPG
    Моби_002, Frodi, ALEKS81 та 9 іншим подобається це.
  9. weronass

    weronass Oberfeldwebel

    Рейтинг:
    2
    Відгуків:
    2
    Лоти
      на продажу:
    0
      продані:
    6
    Повідомлення:
    1.604
    Адреса:
    Украина, Донецк
    Очистка до металла и дальнейшее - моя работа.
     

    Images:

    DSC01374.JPG
    DSC01375.JPG
    DSC01376.JPG
    DSC01386.JPG
    DSC01387.JPG
    DSC01388.JPG
    DSC01389.JPG
    DSC01390.JPG
    DSC01391.JPG
    Моби_002, Frodi, ALEKS81 та 9 іншим подобається це.
  10. weronass

    weronass Oberfeldwebel

    Рейтинг:
    2
    Відгуків:
    2
    Лоти
      на продажу:
    0
      продані:
    6
    Повідомлення:
    1.604
    Адреса:
    Украина, Донецк
    Ну и почти конец....продал я его за 350 уе....сейчас немного жалею, потому как за все время что я вообще занимаюсь антиквариатом, у меня такой шлем был один, и если б не финансовые вопросы тогда, я б его не продавал...но мне тогда было 25, я был молод и глуп))
     

    Images:

    DSC01585.JPG
    DSC01586.JPG
    DSC01587.JPG
    DSC01588.JPG
    DSC01589.JPG
    DSC01590.JPG
    DSC01591.JPG
    DSC01592.JPG
    DSC01593.JPG
    DSC01594.JPG
    Моби_002, clava, Frodi та 14 іншим подобається це.
  11. weronass

    weronass Oberfeldwebel

    Рейтинг:
    2
    Відгуків:
    2
    Лоти
      на продажу:
    0
      продані:
    6
    Повідомлення:
    1.604
    Адреса:
    Украина, Донецк
    Фотки жаль не все сохранились, но в целом процесс понятен. По поводу рихтовщика - это как совет, хороший рихтовщик не небольшую сумму денег может сэкономить много вашего времени и нервов...и сделать лучше чем могли бы вы или иные ваши друзья со сварочными аппаратами и паяльниками (это уже из личного опыта).
    Подведу итог: выставил не с целью рекламы, та надеюсь хоть чем-то помог. Мое мнение - в вашем случае однозначно реставрировать. Спасать что-то родное в шлеме нужно тогда, когда есть хоть что-то спасать. На моем было пол шлема родной краски, которая вылезла при чистке, но смысл?
     
    Okrygenec1942 подобається це.
  12. корней

    корней Stabsfeldwebel

    Рейтинг:
    3
    Відгуків:
    43
    Лоти
      на продажу:
    1
      продані:
    66
    Повідомлення:
    743
    Адреса:
    Україна
    Дякую! Гарний у вас шолом вийшов,повернули до життя.
    А в який колiр фарбували?як зiстарювали?
     
  13. weronass

    weronass Oberfeldwebel

    Рейтинг:
    2
    Відгуків:
    2
    Лоти
      на продажу:
    0
      продані:
    6
    Повідомлення:
    1.604
    Адреса:
    Украина, Донецк
    Сначала почистил щавелькой, посмотрел на родную краску и попрощался с ней. Потом очистка лимонкой до металла, потом рихтовка, потом пришел ко мне (фото в посте 32), ну а потом автомобильная универсальная шпатлевка, зачистка наждаком, грунт не использовал, потом несколько слоев краски, краска Bosny, цвет light grey, номер не помню, но это можно без труда найти в каталогах (краска кстати говоря не самая подходящая, это я уже понял после того как у меня было несколько люфтов в родном окрасе, но на тот момент делал именно этой по совету старших товарищей)), потом деки от Laser (установка и правила эксплуатации есть в темах), потом матовый лак, подходит в принципе любой, ну а потом застаривание...у меня по-простому используется ржавая пыль и незастывший матовый лак, ну и фантазия...царапайте, трите, да в общем что хотите делайте, есть даже специальные средства для завтаривания, это сугубо индивидуальный подход, полистайте темы на форуме, встретите сотни вариантов реставрации и застаривания от полного фуфла до настоящих произведений искусства. С ув
    П.С. Забыл добавить, на таком вроде безнадежном экземпляре вылезли отличные номера.
     

    Images:

    DSC01383.JPG
    DSC01384.JPG
    Meuller, Worro, корней та ще 1-му подобається це.
  14. корней

    корней Stabsfeldwebel

    Рейтинг:
    3
    Відгуків:
    43
    Лоти
      на продажу:
    1
      продані:
    66
    Повідомлення:
    743
    Адреса:
    Україна
    Менi повезло менше:збереглася лише перша буква коду виробника
    IMG_4093.jpg
     
  15. корней

    корней Stabsfeldwebel

    Рейтинг:
    3
    Відгуків:
    43
    Лоти
      на продажу:
    1
      продані:
    66
    Повідомлення:
    743
    Адреса:
    Україна
    Далi шпагльовка-грунтовка IMG_4179.JPG
     

    Images:

    IMG_4180.JPG
    IMG_4181.JPG
    IMG_4182.JPG
    Uralochka, ALEKS81, 663 та 3 іншим подобається це.
  16. корней

    корней Stabsfeldwebel

    Рейтинг:
    3
    Відгуків:
    43
    Лоти
      на продажу:
    1
      продані:
    66
    Повідомлення:
    743
    Адреса:
    Україна
    базовий окрас RAL 6006 по свiжiй фарбi пiдшаманив ржавчиною
     

    Images:

    IMG_4224.JPG
    IMG_4225.JPG
    IMG_4226.JPG
    IMG_4229.JPG
    IMG_4228.JPG
    Uralochka, ALEKS81, 663 та 3 іншим подобається це.
  17. корней

    корней Stabsfeldwebel

    Рейтинг:
    3
    Відгуків:
    43
    Лоти
      на продажу:
    1
      продані:
    66
    Повідомлення:
    743
    Адреса:
    Україна
    По п'янi забув в машинi часу
     

    Images:

    IMG_4268.JPG
    IMG_4278.JPG
    IMG_4279.JPG
    IMG_4280.JPG
    IMG_4281.JPG
    IMG_4282.JPG
    IMG_4283.JPG
    IMG_4284.JPG
    IMG_4285.JPG
    IMG_4286.JPG
    IMG_4287.JPG
    IMG_4288.JPG
    IMG_4289.JPG
    IMG_4290.JPG
    IMG_4291.JPG
    IMG_4292.JPG
    IMG_4293.JPG
    IMG_4294.JPG
    Моби_002, Leftor, dr.Zoldberg та 13 іншим подобається це.
  18. корней

    корней Stabsfeldwebel

    Рейтинг:
    3
    Відгуків:
    43
    Лоти
      на продажу:
    1
      продані:
    66
    Повідомлення:
    743
    Адреса:
    Україна
    Зiстарив гвинти i поставив на мiсце:
     

    Images:

    IMG_4349.jpg
    IMG_4350.jpg
    IMG_4351.jpg
  19. корней

    корней Stabsfeldwebel

    Рейтинг:
    3
    Відгуків:
    43
    Лоти
      на продажу:
    1
      продані:
    66
    Повідомлення:
    743
    Адреса:
    Україна
    Натюрморт IMG_4355.jpg
    колотуха i патрони ММГ
     
    Моби_002, duke6kirill, Patton та 13 іншим подобається це.
  20. stahanovec

    stahanovec Stabsfeldwebel

    Повідомлення:
    831
    Адреса:
    Харьков ВИК"Spielhahnfeder"
    У кого винты заказывали на касочку?
     
  21. weronass

    weronass Oberfeldwebel

    Рейтинг:
    2
    Відгуків:
    2
    Лоти
      на продажу:
    0
      продані:
    6
    Повідомлення:
    1.604
    Адреса:
    Украина, Донецк
    Браво, комрад! отличный шлем вышел!!!
     
    clava подобається це.
  22. корней

    корней Stabsfeldwebel

    Рейтинг:
    3
    Відгуків:
    43
    Лоти
      на продажу:
    1
      продані:
    66
    Повідомлення:
    743
    Адреса:
    Україна
    stahanovec подобається це.
  23. АСИРИС 1984

    АСИРИС 1984 Hauptmann Клуб взаимопомощи

    Рейтинг:
    2
    Відгуків:
    13
    Лоти
      на продажу:
    0
      продані:
    15
    Повідомлення:
    3.930
    Адреса:
    Белая Церковь
    Хорошая работа если мне не изменяет память то это тот исходники который я промаргал на аукро?
     
  24. корней

    корней Stabsfeldwebel

    Рейтинг:
    3
    Відгуків:
    43
    Лоти
      на продажу:
    1
      продані:
    66
    Повідомлення:
    743
    Адреса:
    Україна
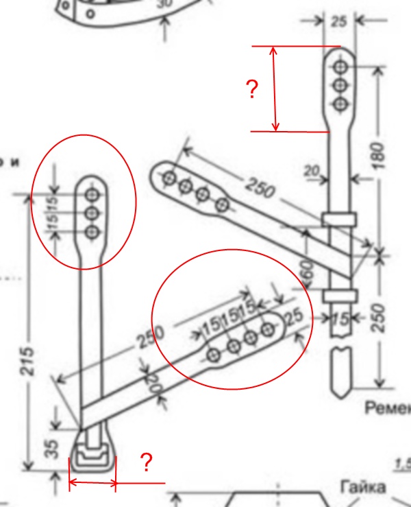
    Почав робити викройки на ремінці,На малюнку вказано між центрами люверсів-15мм,але тоді люверси перекриватимуть друг друга.Чи можна довіряти тепер іншим розмірам?Також цікавлять ці розміри.
    3897368.jpg post-23680-1257886357.jpg
     
  25. ALEKS81

    ALEKS81 Oberstleutnant

    Рейтинг:
    3
    Відгуків:
    18
    Лоти
      на продажу:
    0
      продані:
    32
    Повідомлення:
    4.822
    Адреса:
    Прилуки
    По вашій темі. http://jurgen.ru/forum/viewtopic.php?f=26&t=2493&start=30
     
  26. корней

    корней Stabsfeldwebel

    Рейтинг:
    3
    Відгуків:
    43
    Лоти
      на продажу:
    1
      продані:
    66
    Повідомлення:
    743
    Адреса:
    Україна
    Дякую,цю тему я кілька раз продивився,перш ніж наважився сам робити.Знайшов кілька люверсів із плащ-палатки,там пишуть,що вони підходять,розложив і порівняв з фото з тієї теми.Виходить десь 25-30мм.