запчасти с танка т 34.

Тема у розділі 'Техніка та важке озброєння', створена користувачем Норик, 2 вер 2023.

  1. Норик

    Норик Stabsfeldwebel

    Рейтинг:
    5
    Відгуків:
    263
    Лоти
      на продажу:
    0
      продані:
    478
    Повідомлення:
    2.129
    Адреса:
    Никополь, Украина
    Добрый вечер, подскажите по цене задней ляды с т 34 есть и другой кусок фото скину завтра-послезавтра. Спасибо!
     

    Images:

    0-02-05-5e252a4642c7ae09279b6d67993c48de08292d1ab30ecf0605794baf6c20c3a6_3d6c03392e0ae56f.jpg
    0-02-05-76d1d0f13bf9d9ce1a1e92234ec7eddd740cd93779f683e1cee4852c3a32beec_4546b2916762aaa3.jpg
    0-02-05-83f6151fafcde282896aae6b9752c7e07ae3ccab6563ae7d47bdcca233244d84_69a2b39e838696e3.jpg
    0-02-05-963f3ed38f2d65de2dd79a96ba3124c852b4b0b8e59c9fda6fb3f5488e930e4c_40cc84ed0d707892.jpg
    0-02-05-ca427740d93f47eb2ecb1560a026a36db92ce0fad8e222c146007352b7155632_efa6f42e9bd1ffcd.jpg
    0-02-05-dab4c293cea375123bd8f0234de0a96d491852d6225bb3ba2b0e29d24aaba3b2_3fdb7705c5fcd9b1.jpg
    0-02-05-5a55ea9df72dd12f8830d716ee13ae390deaa985fd3caa08a7bc505139630277_d89aff75aae21a2e.jpg
    0-02-05-7e64c3676ae43fb1acbd931b18eeaf79e898def5816534dc84eb82384d9b95ad_751442d142a110cf.jpg
    0-02-05-68fd2b07fd98479a9a525048a703fca8d1bdffe2d66e0b52c73f32d5b2bc8665_1e377535cc8a9054.jpg
    0-02-05-c920665a29bbab17bdcc9096b9626db352477fa346a26e55204efdfa2e0446e9_ffa7bcdc8a74f937.jpg
    0-02-05-cca086e45c7c5534698e363eacbe21676452253c7b4c9f145f48fc1b04efcea8_b3aef9915d7e3465.jpg
    0-02-05-d4f6db33d8e6cca8aa29466adfe4ae215fc1636e0222b3c27ab6f7e5e8d578ab_f351dac5d1afdaad.jpg
    Roma_1985, gall 83 та Topaz81 подобається це.
  2. Цікаві лоти

    1. Різьба 20 мм, по ключу 22 мм. Перевірив ,тримає .
      125 грн.
    2. 2 зубила , ломик и 2 керна - новые , в работе не были ! Остальные инструменты ( 1 метр , линейка н...
      400 грн.
    3. Шланг для индивидуального дыхательного аппарата ВВС СССР летчика ТМО-2-14-0,2-С-ІХ-86 авиация Сост...
      550 грн.
    4. Домашнее хранение ! Долго и надежно служили по хозяйству ! Длина губок = 63 мм . Вес лота = 2,5...
      500 грн.
    5. Фильтр радиопомех ФР-200 12-24 в. 20 А.
      250 грн.
  3. Норик

    Норик Stabsfeldwebel

    Рейтинг:
    5
    Відгуків:
    263
    Лоти
      на продажу:
    0
      продані:
    478
    Повідомлення:
    2.129
    Адреса:
    Никополь, Украина
    по супутке. вот какой то люк метал 3 мм. и деталь из брони..
     

    Images:

    0-02-05-5bd57a2c0e8ffdc97852cbc88d2fc60f335710a15b021ba9061b1db74bd199f0_d68134ee60d448e.jpg
    0-02-05-fb30feb8fb05283348cb7dc6a2566f57ba10f74abcdd325f02c99c4422fb5281_436076f60fe6af67.jpg
    0-02-05-919c5465f84f3ff3eae4f10a3682ece084ffcf03976580ab7cf266d8165295b0_6b329a395b23af9d.jpg
    0-02-05-0237c0a0f71655dee5c1d8a9239d46b827b066b261460645ccc849b685f28c45_3f7216b2e21e0b35.jpg
    0-02-05-8ca187c1d2025768b34bd60cea7e0714f7ef11d00a81c56f43ebdf03b05162f2_51e525d97f5dd71d.jpg
    gall 83 подобається це.
  4. Норик

    Норик Stabsfeldwebel

    Рейтинг:
    5
    Відгуків:
    263
    Лоти
      на продажу:
    0
      продані:
    478
    Повідомлення:
    2.129
    Адреса:
    Никополь, Украина
    и ещё супутка била на самом дне окопа.
     

    Images:

    0-02-05-37edd8f50797536e5bab2417746960cce5d914f44917434a2b8e1f14a94dc210_73f0d3897f2db555.jpg
    0-02-05-b03d07892a407ca6aaae03f7dcb0645e0d744e074046a5a3e93b3dc8f2660f8e_6685162e97fe4c3d.jpg
    0-02-05-bc1013ab15a3b694430f9d71324edaa9ce1842c8ff93e4b2ad0db49742a44fdb_864fcdc54de63e6.jpg
    0-02-05-c5d26172d673a9ad4e94d8b5e13b4e43b94afa734431ce43e118ebaa7d73ce8c_3e88df0afc29179a.jpg
    0-02-05-e03040eb7d78b4d67ab9bbebe5e7a447e9644a4c583892eb41c1d9cba4847579_eb14e91f44df9663.jpg
    0-02-05-5e3db07acc60b9998c97605d3f38e060a16d1ddb36ea82faaa59db9f481efabf_28e8b5a6d1b902dd.jpg
    gall 83 та Topaz81 подобається це.
  5. Topaz81

    Topaz81 General-major

    Рейтинг:
    4
    Відгуків:
    108
    Лоти
      на продажу:
    2
      продані:
    251
    Повідомлення:
    5.803
    Адреса:
    Ненька Україна
    Ціна метала помножена на два.
     
    Roma_1985, gall 83 та Норик подобається це.
  6. Норик

    Норик Stabsfeldwebel

    Рейтинг:
    5
    Відгуків:
    263
    Лоти
      на продажу:
    0
      продані:
    478
    Повідомлення:
    2.129
    Адреса:
    Никополь, Украина
    А не можете снинуть фото где стоит эта ляда, а то я смотрел т-34 не нахожу её, может она не с т34?
     
    Roma_1985, gall 83 та Металоприйом подобається це.
  7. Металоприйом

    Металоприйом Gefreiter

    Повідомлення:
    35
    Адреса:
    Черкаська область
    Приветствую.
    Стоит она за башней сразу по левому, и правому бортах, под крышками. Между ними большой прямоугольный моторный люк.
    Как обьяснить не знаю.
     
    Норик та gall 83 подобається це.
  8. aleks.shpok

    aleks.shpok Stabsgefreiter

    Рейтинг:
    5
    Відгуків:
    467
    Лоти
      на продажу:
    54
      продані:
    1.024
    Повідомлення:
    135
    Адреса:
    НИКОПОЛЬ
    Этот танк?
     

    Images:

    я (4).jpg
    Норик, gall 83 та Металоприйом подобається це.
  9. Металоприйом

    Металоприйом Gefreiter

    Повідомлення:
    35
    Адреса:
    Черкаська область
    Нет, это БТ.
     
    Норик та gall 83 подобається це.
  10. aleks.shpok

    aleks.shpok Stabsgefreiter

    Рейтинг:
    5
    Відгуків:
    467
    Лоти
      на продажу:
    54
      продані:
    1.024
    Повідомлення:
    135
    Адреса:
    НИКОПОЛЬ
    Крышки такие?
     
    gall 83 та Металоприйом подобається це.
  11. Металоприйом

    Металоприйом Gefreiter

    Повідомлення:
    35
    Адреса:
    Черкаська область
    Но, народное творчество, не перевелось.
    На БТ стоят крышки с Т-34.
    Да, и компоновочная схема похожа.
     
    Норик та gall 83 подобається це.
  12. Металоприйом

    Металоприйом Gefreiter

    Повідомлення:
    35
    Адреса:
    Черкаська область
    Крышки такие это с Т-34 , на этих крышках приварены ручки
     
    Норик та gall 83 подобається це.
  13. aleks.shpok

    aleks.shpok Stabsgefreiter

    Рейтинг:
    5
    Відгуків:
    467
    Лоти
      на продажу:
    54
      продані:
    1.024
    Повідомлення:
    135
    Адреса:
    НИКОПОЛЬ
    Может фото Т-34 с такими крышками есть?:)
     
    gall 83 та Металоприйом подобається це.
  14. Металоприйом

    Металоприйом Gefreiter

    Повідомлення:
    35
    Адреса:
    Черкаська область
    У Вас на фото на БТ стоят крышки с Т-34 завода №112 "Красное Сормово"
    Посмотрите пожалуйста в мировой паутине.
     
    gall 83 та aleks.shpok подобається це.
  15. aleks.shpok

    aleks.shpok Stabsgefreiter

    Рейтинг:
    5
    Відгуків:
    467
    Лоти
      на продажу:
    54
      продані:
    1.024
    Повідомлення:
    135
    Адреса:
    НИКОПОЛЬ
    Танк есть.Обсуждаемой детали не видно.
     

    Images:

    T-34-85_góra_RB.jpg
    gall 83 та Металоприйом подобається це.
  16. Металоприйом

    Металоприйом Gefreiter

    Повідомлення:
    35
    Адреса:
    Черкаська область
    За башней этого танка стоят точно такие же крышки, как на БТ.
    Под этими крышками стоят обсуждаемые детали.

    На обсуждаемых деталях есть несколько маленьких лючков.
    Через эти лючки заправляют топливо, и масло в танк.

    Наберите в паутине "Заправка танка Т-34 маслом". или в руководстве.
    Чтобы долить масло в двигатель надо снять эти крышки с ручками.
     
    Норик, gall 83, Лера ОУН-УПА та ще 1-му подобається це.
  17. aleks.shpok

    aleks.shpok Stabsgefreiter

    Рейтинг:
    5
    Відгуків:
    467
    Лоти
      на продажу:
    54
      продані:
    1.024
    Повідомлення:
    135
    Адреса:
    НИКОПОЛЬ
    Вообшем это боковые листы с жалюзями.Два крайниу лючка в этом листе это шахты подвески а срелние для заливки масла.
     

    Images:

    img_73.jpg
    Roma_1985, Норик та gall 83 подобається це.
  18. Норик

    Норик Stabsfeldwebel

    Рейтинг:
    5
    Відгуків:
    263
    Лоти
      на продажу:
    0
      продані:
    478
    Повідомлення:
    2.129
    Адреса:
    Никополь, Украина
    Подскажите как правильно называется это изделие?
     
  19. Норик

    Норик Stabsfeldwebel

    Рейтинг:
    5
    Відгуків:
    263
    Лоти
      на продажу:
    0
      продані:
    478
    Повідомлення:
    2.129
    Адреса:
    Никополь, Украина
    А по этой крышке никто не подскажет?, ну явно она с какой то техники, вот фото зацепов.
     

    Images:

    0-02-05-4b2e9b5d443273e7ef55a5ba37e3de94ad865e884c0757b72f119f33d8ce811b_2698f73bb21f3cac.jpg
    0-02-05-287bb46d5423d31bef0eb439e97864ec1a0062800315738f6c2aec91818f4da4_7911762f5e8ae650.jpg
    0-02-05-aa57625259bdc4d69ba4dccf8c8a3f6054d498641f2595cf2eb3e2ce5bf4e299_2b169fe1dcaa5064.jpg
    0-02-05-cd3eefc1fa825cc6f047727653304a322279548037d3876a7696c2d053233ed0_5558f8b0e9de7c0e.jpg
    gall 83 подобається це.
  20. aleks.shpok

    aleks.shpok Stabsgefreiter

    Рейтинг:
    5
    Відгуків:
    467
    Лоти
      на продажу:
    54
      продані:
    1.024
    Повідомлення:
    135
    Адреса:
    НИКОПОЛЬ
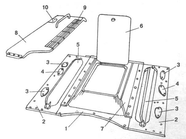
    1 — средний лист: 2 — боковые листы: 3 — броневые крышки над шахтами подвески: 4 — броневые крышки заливных горловин масляных баков: 5 — броневой лист жалюзи; 6 — крышка люка над двигателем: 7 — броневая планка: 8 — колпак воздухопритока; 9 — решетка колпака воздухопритока: 10 — крышка лючка для заливки масла
     
    Норик та gall 83 подобається це.