НР- 40 ?

Тема у розділі 'Росія', створена користувачем светогор, 3 січ 2019.

  1. светогор

    светогор Gefreiter

    Рейтинг:
    1
    Лоти
      на продажу:
    0
      продані:
    3
    Повідомлення:
    109
    Адреса:
    Харьков
    Крепкого всем здоровья.
    Прошу помочь с определение подлинности.
    Интересна цена .
    Хочу реставрировать .Очень нужна информация из какого дерева изготавливались рукояти на такие ножи и материал кольца под гардой.
    Вобщем буду благодарен за любую инфу.
     

    Images:

    DSC09219.JPG
    DSC09220.JPG
    DSC09221.JPG
    DSC09223.JPG
    DSC09224.JPG
    Bakay подобається це.
  2. Цікаві лоти

    1. Большое сервировочное фарфоровое блюдо Kriegsmarine. Hutschenreuther (Lorenz Hutschenreuther). Зель...
      800 грн.
    2. Комбинированные демисезонные перчатки. Тонкая мягкая кожа., шерстяная пряжа. Подкладка из микрофлиса...
      120 грн.
    3. (в наявності 5 шт.)
      М'яка палітурка. Розмір 148-210 мм. Дивіться всі лоти
      180 грн.
    4. Полевой бинокль Немецкого Вермахта конца войны в песочном цвете Ordnance Tan. Полностью честный пред...
      11500 грн.
    5. Труси відмінної якості розмір М тм Athena Ціна за 2 шт. Нові.
      250 грн.
  3. unteroff

    unteroff Oberfeldwebel

    Повідомлення:
    1.482
    Адреса:
    сказка
    Оригинал.
    Артель звезда, поселок Беляйково.
    Цена ему 600-800грн.
    Дерево на оригинале береза.
    Кольцо сталь стык паяный.
     

    Images:

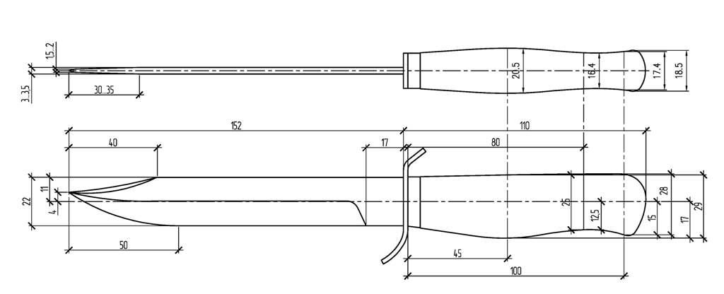
    knife_nozh_razvedchika_outline.png
    Bangalor, Bakay та German Stein подобається це.
  4. светогор

    светогор Gefreiter

    Рейтинг:
    1
    Лоти
      на продажу:
    0
      продані:
    3
    Повідомлення:
    109
    Адреса:
    Харьков
    Понял спасибо.
    Может у кого есть информация размеров колечка .
     
  5. unteroff

    unteroff Oberfeldwebel

    Повідомлення:
    1.482
    Адреса:
    сказка
    Можите взять отсюда, думаю размеры одинаковы
     

    Images:

    12855080.jpg
    Bakay подобається це.
  6. unteroff

    unteroff Oberfeldwebel

    Повідомлення:
    1.482
    Адреса:
    сказка
    Или уже от сюда по размерам рукояти...
    Но я бы делал наборную из плексиглаза.
     

    Images:

    16028461.jpg
    German Stein та artyr .1313 подобається це.
  7. светогор

    светогор Gefreiter

    Рейтинг:
    1
    Лоти
      на продажу:
    0
      продані:
    3
    Повідомлення:
    109
    Адреса:
    Харьков
    Еще раз спасибо.
    Что такое плексиглаз?
     
  8. unteroff

    unteroff Oberfeldwebel

    Повідомлення:
    1.482
    Адреса:
    сказка
    Ну, типа, цветное оргстекло...
     

    Images:

    images.jpeg
    post-590-0-55391800-1406915837.jpg
    901f831c62676f6a5f57448b539b2ad44.jpg
    Koloben подобається це.
  9. unteroff

    unteroff Oberfeldwebel

    Повідомлення:
    1.482
    Адреса:
    сказка
    И еще...
     

    Images:

    58104568.jpg
  10. wertyuop

    wertyuop Stabsfeldwebel

    Рейтинг:
    5
    Відгуків:
    210
    Лоти
      на продажу:
    90
      продані:
    440
    Повідомлення:
    1.126
    Адреса:
    украина.
    Вот.
    Оригинал.
    Артель звезда, поселок Беляйково.делала и такие ножики...
     

    Images:

    DSCN2262.JPG
    DSCN2263.JPG
  11. unteroff

    unteroff Oberfeldwebel

    Повідомлення:
    1.482
    Адреса:
    сказка
    Клинок интересен тем, что есть техклеймо.
     
    German Stein подобається це.
  12. German Stein

    German Stein Oberleutnant

    Рейтинг:
    2
    Відгуків:
    6
    Лоти
      на продажу:
    0
      продані:
    13
    Повідомлення:
    2.360
    Адреса:
    киев
    Ну так это ж обычный кухонный хозбыт. Каким боком он к артельному НРу относится?