Интересная пуля

Тема у розділі 'Що це таке?', створена користувачем с.а.в., 8 сер 2018.

  1. с.а.в.

    с.а.в. Stabsfeldwebel

    Рейтинг:
    4
    Відгуків:
    82
    Лоти
      на продажу:
    0
      продані:
    142
    Повідомлення:
    815
    Адреса:
    Харьков
    Добрый день. На хуторе попалась пуля, раньше таких не находил.
    Вес 10,8 гр. Калибр, где-то как Мосина, в гильзу Маузера проваливается.
    Чисто для самообразования интересно. Подскажите что за пуля такая.
    Спасибо:beer:
     

    Images:

    IMG_20180808_135435.jpg
    IMG_20180808_135450.jpg
    IMG_20180808_135501.jpg
    IMG_20180808_135416.jpg
    Bakay та Derrindger подобається це.
  2. Цікаві лоти

    1. Набої до гвинтівки Мосіна, I-а Світова війна. Виробники Бельгія (FN), Німеччина, м.Магдебург (з-д По...
      200 грн.
    2. Обойма Мосін,стан гарний,ММГ.
      150 грн.
    3. Пропоную кулі австрійського виробництва 6,5 мм .241 — 50 шт Вага — 6 грам в рідній упаковці 1920...
      1200 грн.
    4. Бердан-2 шт.,по фото
      190 грн.
    5. В Австрійській армії під час Першої світової війни стріляні гільзи збирали після бою, пакували в пач...
      120 грн.
  3. votaga

    votaga General-leutnant

    Повідомлення:
    30.360
    Ого.
    По ерапланам зажигалка?
    Вес многоват только, хотя честных данных не видел

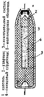
    Трехлинейный патрон с зажигательной пулей
    для стрельбы по аэропланам, образца 1914 г.


    Первой из специальных пуль, принятых на вооружение российской армии во время Первой мировой, стала зажигательная пуля обр. 1914 г., предназначенная,
    в первую очередь, для стрельбы по аэростатам и самолетам противника. Русские зажигательные пули являлись, в некоторой степени, компромиссным, «бюджетным» решением, т. к. они изготавливались из разснаряженных пуль обр. 1891 г. В головной части тупоконечной пули высверливалось продольное отверстие диа-метром 3.8 мм и глубиной 24 мм.
    На 4/5 глубины в отверстие запрессовывался черный дымный порох, над которым устанавливались металлическая наковаленка и капсюль. Пули для стрельбы по аэростатам имели капсюль, выступающий из оболочки. Пули для стрельбы по аэропланам имели капсюль, утопленный в оболочке. Длина пули с утопленным капсюлем составляла 29.2 мм, а вес — 10.39 г. Патроны с зажигательными пулями выпускались только в период Первой мировой войны. Главным недостатком этих пуль была повышенная опасность срабатывания при случайном ударе или утыкании во время подачи в патронник.

    zajigatelnyi.jpg
     
    Останнє редагування: 8 сер 2018
    Bandera3, TarASha, Polisyaka та 8 іншим подобається це.
  4. с.а.в.

    с.а.в. Stabsfeldwebel

    Рейтинг:
    4
    Відгуків:
    82
    Лоти
      на продажу:
    0
      продані:
    142
    Повідомлення:
    815
    Адреса:
    Харьков
    В смысле, по самолётам стрелять? А шо ого ? Рарик?
    Пуля была с куском гильзы. И гильзы там были П17.
     
    Останнє редагування: 8 сер 2018
    Лера ОУН-УПА та Meuller подобається це.
  5. votaga

    votaga General-leutnant

    Повідомлення:
    30.360
    Давно не видел.
    Если она.
    В носу капсюль есть?
     
    иван777444333 подобається це.
  6. с.а.в.

    с.а.в. Stabsfeldwebel

    Рейтинг:
    4
    Відгуків:
    82
    Лоти
      на продажу:
    0
      продані:
    142
    Повідомлення:
    815
    Адреса:
    Харьков
    Выглядит точно, как на фото ,что внутри не знаю.
     
  7. Derrindger

    Derrindger Stabsfeldwebel

    Рейтинг:
    2
    Відгуків:
    13
    Лоти
      на продажу:
    0
      продані:
    18
    Повідомлення:
    1.231
    Вес правильный,внутри запрессованный чёрный порох,капсюль с ударником. s53397161.jpg bull2.jpg
     
    Останнє редагування: 8 сер 2018
    TarASha, forencic, черепок та 3 іншим подобається це.
  8. с.а.в.

    с.а.в. Stabsfeldwebel

    Рейтинг:
    4
    Відгуків:
    82
    Лоти
      на продажу:
    0
      продані:
    142
    Повідомлення:
    815
    Адреса:
    Харьков
    Тоже нашел много ссылок по таким пулям. Одну из гильз с того места привёл в порядок, вставил пулю, так что теперь имеем уже патрон.
    Выставил в раздел оценки https://reibert.info/threads/patron...914-goda-dlja-strelby-po-aehroplanam.1032040/ после выяснения будет в продаже.
     

    Images:

    IMG_20180808_183852.jpg
    IMG_20180808_183836.jpg
    IMG_20180808_183915.jpg
    IMG_20180808_183941.jpg
    IMG_20180808_184006.jpg
    IMG_20180808_184024.jpg
    IMG_20180808_184046.jpg
    IMG_20180808_184120.jpg
    pz.jpg
    valerka подобається це.
  9. serg shs

    serg shs Oberfeldwebel

    Повідомлення:
    387
    Адреса:
    Київ
    Пошукайте в гуглі "заметки стрелка-юриста" :)
    Досить цікавий журнал. В нього нещодавно було про такий патрон.
    Із повагою,
    Серж.

    Надіслано від мого Redmi 3S, використовуючи Tapatalk
     
    TarASha та с.а.в. подобається це.