Ідентифікація

Тема в разделе "ВНП", создана пользователем Waw, 12 ноя 2021.

  1. Waw

    Waw Oberschütze

    Рейтинг:
    1
    Лоты
      на продаже:
    0
      проданные:
    2
    Сообщения:
    12
    Доброго дня.Підкажіть чия міна.Наскільки небезпечна у такому стані? Дякую
     

    Изображения:

    IMG_20211112_105411.jpg
    IMG_20211112_105351.jpg
    IMG_20211112_104133.jpg
    IMG_20211112_115040.jpg
    IMG_20211112_115036.jpg
    IMG_20211112_115028.jpg
    IMG_20211112_105404.jpg
    IMG_20211112_104137.jpg
    Tor68 нравится это.
  2. Интересные лоты

    1. (в наличии 121 шт.)
      Ричаг, скоба для УЗРГМ. Пофарбовані, бо з учбового комплекту.
      25 грн.
    2. (в наличии 1 шт.)
      Переходники хаттабки из ВОГ 17. В идеальном состоянии. Изготовленны из алюминия.
      260 грн.
    3. Корпус протипіхотної міни ПВП-50 з вражаючими елементами (безпечний). Стан дивитись на фото.
      3570 грн.
    4. Взрыватель ВЗД 1М. Новый. Металлоэлемент на месте. В наличии один.
      3600 грн.
    5. (в наличии 1 шт.)
      МОН 90 Повний комплект. Для навчання Вибухових речовин немає. Ні ПВР-5 ні проміжних зарядів не місти...
      7500 грн.
  3. Дервиш

    Дервиш General-major

    Сообщения:
    5.428
    Адрес:
    .
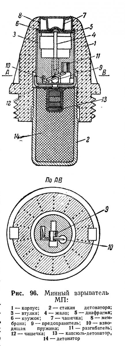
    50-мм, 6-перая обр.1940, О-822, СССР. В голове взрыватель МП. Опасна.
     

    Изображения:

    50-мм мина.jpg
    МП_1.jpg
    Последнее редактирование: 12 ноя 2021
    duke6kirill, 250RIR, Друг Хімік и 10 другим нравится это.
  4. trytyyuy

    trytyyuy Feldwebel

    Сообщения:
    540
    Адрес:
    дон
    сохран говно. не стоит заморачиваться. денег тоже не стоит особо. короче не стоит
     
    Ph@ntom и Alexandr167 нравится это.
  5. Waw

    Waw Oberschütze

    Рейтинг:
    1
    Лоты
      на продаже:
    0
      проданные:
    2
    Сообщения:
    12
    Дякую за відповідь
     
  6. Waw

    Waw Oberschütze

    Рейтинг:
    1
    Лоты
      на продаже:
    0
      проданные:
    2
    Сообщения:
    12
    Дякую за допомогу